支持CAN振铃抑制功能的安全型SBC
支持选择性唤醒功能,构建超低功耗电气系统

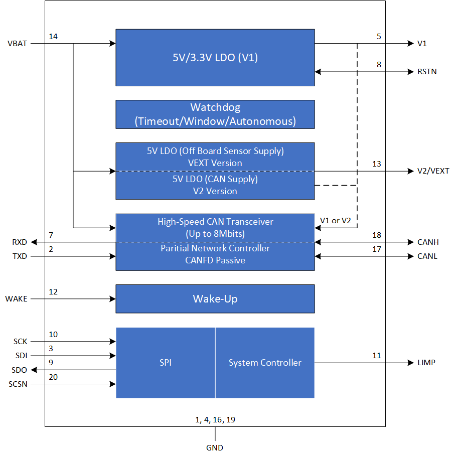
芯必达IM1169是一款国产车规级SBC芯片,集成了Partial Network(局域网络管理)功能和信号质量改善能力(SIC)的CAN收发器 。CAN收发器符合"ISO11898-2:2024"物理层一致性标准 ,其CAN FD SIC收发器支持高达8Mbps的数据传输速率,并支持与各类CAN总线设备的无缝互操作和卓越兼容性,使其能在复杂的车载网络中实现高效、稳定的数据传输。
IM1169配备全面的故障监测诊断功能,集成独立看门狗电路,可支持ASIL-B级功能安全产品开发,广泛适用于各类汽车电子应用场景。此外,IM1169还具备良好的EMC性能,其CAN管脚达到HBM ±8KV,并达到BCI Level Ⅳ(200mA)的Class A等级测试标准,满足现代汽车严苛的电磁兼容性要求。
• 符合AEC-Q100车规级产品认证
• 工作结温,-40℃ 至 +150℃
• 符合 ISO11898-2:2016和CiA 601-4电气物理层 (EPL)规格标准
• 支持CAN FD SIC振铃抑制功能,最高支持8Mbits的通信速率
• 支持窗口和超时模式看门狗,支持冗余防误配置安全功能
• 支持低功耗模式,具有WAKE管脚唤醒和CAN唤醒,可通过SPI识别唤醒源
• 支持一路LDO3.3V/5V输出可选,可提供高达 300mA 电流,精度为±2%
• 支持一路LDO5V输出100mA,可用于CAN或外部传感器供电
• 支持用于安全功能的SPI诊断,可检测LDO过压、欠压、过温、短路、过流等异常
• 支持正常模式、低功耗待机模式和低功耗睡眠模式
• 支持LIMP跛行模式输出,输出逻辑可MTPNVM自定义配置
• 支持RSTN双向复位管脚,输出脉宽可通过MTPNVM自定义配置
• 支持500次以上的MTPNVM编程


产品型号
| 模块 | IM1169/X/F/S | IM1169A/3/F/S | IM1169A/X | IM1169A/X/F | IM1169A/3 | IM1169A/3/F |
CAN FD | √ | √ | √ | √ | √ | √ |
CAN SIC | √ | √ | ||||
CAN PN | √ | √ | √ | √ | ||
LDO1 | 5V 300mA | 3.3V 300mA | 5V 300mA | 5V 300mA | 3.3V 300mA | 3.3V 300mA |
LDO_Senor | 5V 100mA | 5V 100mA | 5V 100mA | |||
LDO_CAN | 5V 100mA | 5V 100mA | 5V 100mA | |||
SPI | √ | √ | √ | √ | √ | √ |
Watchdog | √ | √ | √ | √ | √ | √ |
MTPNV | √ | √ | √ | √ | √ | √ |
Package | DFN20 | DFN20 | DFN20 | DFN20 | DFN20 | DFN20 |


上海市浦东新区盛夏路565弄40号张江高科集贤天地A栋10楼